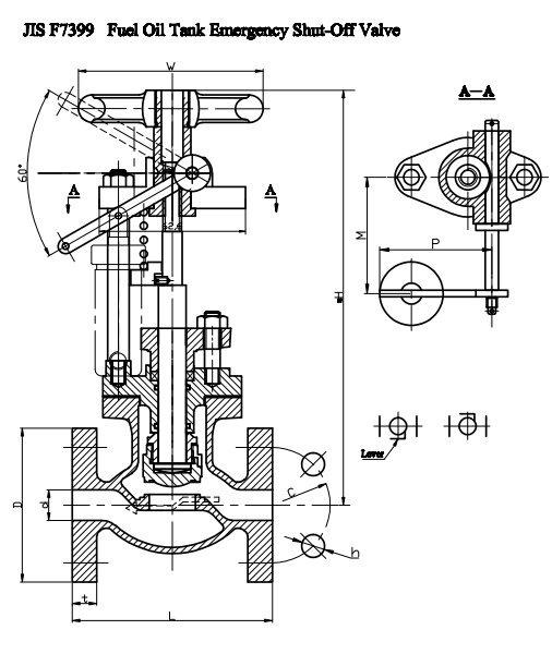
JIS F7399 船用青铜/黄铜直通快关阀 5K/10K

product-banner

产品中心

产品详细信息

发送消息:
  • 产品评估:

    rkfm6788@outlook

    15588686571