产品中心
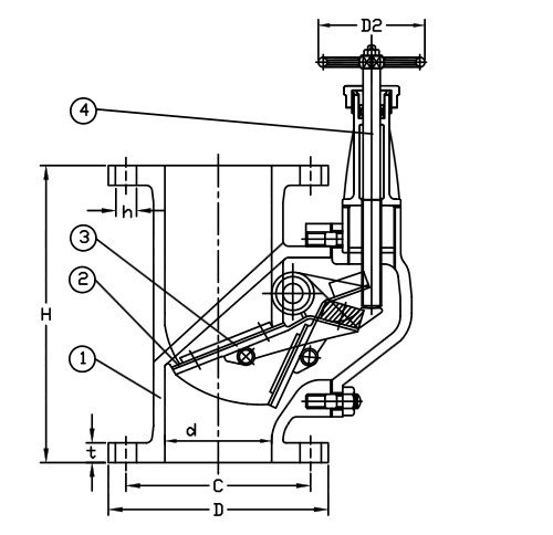
船用铸钢防风阀 JIS F3060 5K:
![]()
设计标准:JIS F3060-1996
测试标准:JIS 7400-1996
法兰尺寸符合 JIS B2220 - 5K
主要材质:
1-阀体:铸钢 (SC480)
2-阀座:橡胶 (NBR)
3-阀瓣:青铜 (BC6)
4-阀杆:不锈钢 (SUS403)
主要尺寸表(mm):
DN | H | D | C | No. | hole | t | D2 |
50 | 210 | 130 | 105 | 4 | 15 | 16 | 100 |
65 | 240 | 155 | 130 | 4 | 15 | 18 | 100 |
80 | 260 | 180 | 145 | 4 | 19 | 18 | 125 |
100 | 280 | 200 | 165 | 8 | 19 | 20 | 125 |
125 | 330 | 235 | 200 | 8 | 19 | 20 | 125 |
150 | 360 | 265 | 230 | 8 | 19 | 22 | 125 |
200 | 459 | 320 | 280 | 8 | 23 | 24 | 125 |
船用铸钢防风阀 JIS F3060 10K:
![]()
设计标准:JIS F3060-1996
测试标准:JIS 7400-1996
法兰尺寸符合 JIS B2220 - 10K
主要材质:
1-阀体:铸钢 (SC480)
2-阀座:橡胶 (NBR)
3-阀瓣:青铜 (BC6)
4-阀杆:不锈钢 (SUS403)
主要尺寸表(mm):
DN | L | D | C | No. | h | t | D2 |
50 | 210 | 155 | 120 | 4 | 19 | 20 | 100 |
65 | 240 | 175 | 140 | 4 | 19 | 22 | 100 |
80 | 260 | 185 | 150 | 8 | 19 | 22 | 125 |
100 | 280 | 210 | 175 | 8 | 19 | 24 | 125 |
125 | 330 | 250 | 210 | 8 | 19 | 24 | 125 |
150 | 360 | 280 | 240 | 8 | 23 | 26 | 125 |
